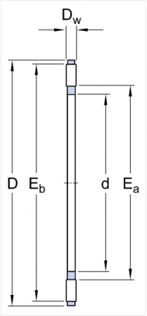
Упорный игольчатый роликоподшипник
Одинарные упорные игольчатые роликоподшипники предназначены для восприятия тяжёлых осевых и пиковых нагрузок в одном направлении. Подшипники обеспечивают высокую степень жёсткости и требуют минимального места в осевом направлении. Чтобы выдерживать осевые нагрузки в обоих направлениях, двойной подшипник можно составить из двух комплектов игольчатых роликов с сепаратором и двух колец подшипников с промежуточным кольцом.
Высокая осевая грузоподъёмность
Высокая жёсткость
Длительный срок службы
Требуют минимального осевого пространства
Разъёмная конструкция
Для покупки товара в нашем интернет-магазине выберите понравившийся товар и добавьте его в корзину. Далее перейдите в Корзину и нажмите на «Оформить заказ» или «Быстрый заказ».
Когда оформляете быстрый заказ, напишите ФИО, телефон и e-mail. Вам перезвонит менеджер и уточнит условия заказа. По результатам разговора вам придет подтверждение оформления товара на почту или через СМС. Теперь останется только ждать доставки и радоваться новой покупке.
Оформление заказа в стандартном режиме выглядит следующим образом. Заполняете полностью форму по последовательным этапам: адрес, способ доставки, оплаты, данные о себе. Советуем в комментарии к заказу написать информацию, которая поможет курьеру вас найти. Нажмите кнопку «Оформить заказ».
